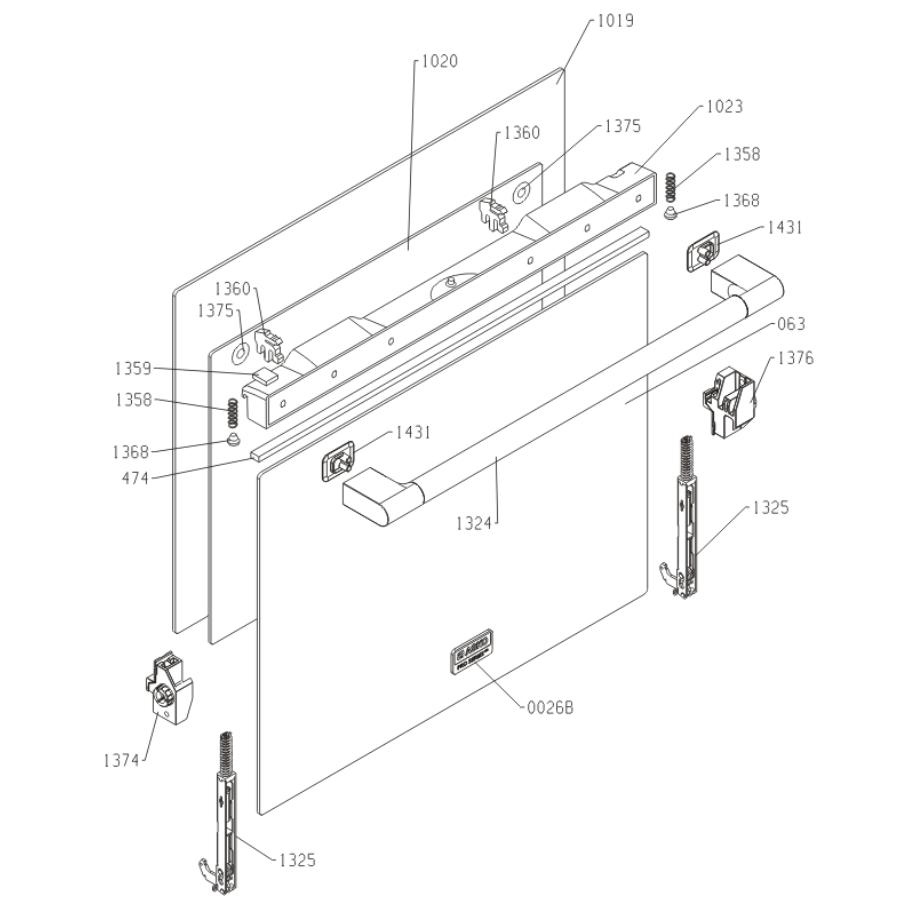
Asko Gorenje Upo Uunin Lasinpidike – Oikea (423002) on alkuperäinen osa uunin ovilasin kiinnitykseen. Oikean puolen pidike tukee lasia ja pitää sen napakasti paikallaan.
Kun vanha kiinnike kuluu, ovilasi voi alkaa liikkua ja tuntua löysältä. Uusi uunin lasinpidike oikea palauttaa oven ryhdin ja vähentää lasin tärinää käytössä. Osa sopii liesiin ja uuneihin, joissa ovilasin kiinnitys tehdään vastaavalla pidikkeellä.
Tarkista yhteensopivuus mallikoodilla tai varaosanumerolla ennen tilausta. Jos tarvitset myös toisen puolen osan, katso tuote: Asko Gorenje Upo Uunin Lasinpidike – Vasen (423096).
Yhteensopivia mallisarjoja eri valmistajilta:
- ATAG CS6-, OX1-, OX4-, OX6-, ZX6- mallit.
- Asko CC3-, CC9-, CG9-, CI9-, OCS-, OP8-, OT8- mallit.
- Atag OX4-, OX6-, ZX6- mallit.
- Bellers BLG- mallit.
- Belling BEL- mallit.
- Cylinda S82-, S83-, S84-, SIB-, Tun- mallit.
- Elvita CCS-, CGS-, CIS-, CS4-, Tun- mallit.
- Eskimo ES5-, ESK- mallit.
- Essentiel B ECV- mallit.
- Eta ETA- mallit.
- Fors CHD- mallit.
- Foster FL6-, SKI- mallit.
- Franke CF5-, FMO-, FSO-, GL6-, GL8-, SG6-, SL6-, SL8-, SM6-, SM8- mallit.
- Frigor FKI-, FKK- mallit.
- Gebe GSH- mallit.
- Gorenje 443-, B1O-, B2O-, B51-, BA7-, BC1-, BC5-, BC6-, BC7-, BC9-, BCI-, BCP-, BCS-, BO1-, BO4-, BO5-, BO6-, BO7-, BO8-, BO9-, BOE-, BOP-, BOS-,
- BP6-, BP7-, BPS-, BS7-, C55-, CSO-, E51-, E52-, E53-, E61-, E63-, E65-, E66-, E67-, E85-, EB4-, EB6-, EBD-, EBP-, EC4-, EC5-, EC6-, EC8-, EC9-, ECE-,
- ECP-, ECS-, ECT-, EEC-, EI4-, EI5-, EI6-, EI8-, EI9-, EIC-, EIT-, FSO-, G51-, G5W-, G61-, GCS-, GE5-, GE6-, GEC-, GEI-, GG5-, GG6-, GGI-, GI4-, GI5-,
- GI6-, GIN-, GK5-, GK6-, GKC-, GKS-, GN5-, GO5-, GO7-, GO8-, GO9-, GOT-, GP5-, GP7-, GP8-, GP9-, GS7-, GU8-, HL–, K33-, K52-, K53-, K54-, K55-, K57-,
- K61-, K62-, K63-, K65-, K66-, K67-, K86-, KC5-, KC6-, KE6-, KM6-, KN5-, KS5-, KS6-, KS7-, M34-, MEB-, MEK-, OCS-, Tun- alkavat mallit.
- Haefele HBO-, HO– mallit.
- Hisense BI3-, BI5-, BSA-, BU5-, BUI-, DK6-, DK7-, H2C-, HC6-, HCC-, HCI-, HEC-, HEI-, HI5-, HI6-, HK6-, HKS-, O52-, OP5-, Tun- alkavat mallit.
- Junex GL5-, GS5- mallit.
- Körting E91-, KB8-, KBC-, KBO-, KE6-, KEC-, KK6-, KU7-, OKB- mallit.
- Küppersbusch GH6- mallit.
- Miji MBO- mallit.
- Mora C56-, C81-, C82-, C84-, C86-, CS6-, CS9-, I76-, I86-, I87-, IS8-, K72-, K76-, K86-, K87-, K88-, KS9-, Tun-, VT1-, VT2-, VT3-, VT4-, VT5-, VT6-, VT7-, VTP-, VTS-, VTZ- alkavat mallit.
- Panasonic CK6-, HL– mallit.
- Pelgrim EC6-, OKW-, OVM-, OVP-, OVS-, PF8-, PFI-, PFW- mallit.
- Privileg S5K-, S6K- mallit.
- Sibir EB6-, EH6-, FHG-, FHK- mallit.
- Sidex KSX-, SK6-, SV6- mallit.
- Upo CC8-, CE8-, CI8-, EC1-, EH1-, EI1-, LI5-, LIT-, LK5-, LK6-, LV5-, LV6-, O60-, O61-, O62-, O63-, O64-, OP6-, OPS-, UE5-, UE6-, UEC-, UEI- alkavat mallit.
Tuotetiedot:
- Varaosanumero: 423002
- Valmistaja: Gorenje / Hisense
- Käyttökohde: Liesi, Uuni
- Yhteensopivat tuotemerkit: ATAG, Asko, Atag, Bellers, Belling, Cylinda, Elvita, Eskimo, Essentiel B, Eta, Fors, Foster, Franke, Frigor, Gebe, Gorenje, Haefele, Hisense, Junex, Körting, Küppersbusch, Miji, Mora, Panasonic, Pelgrim, Privileg, Sibir, Sidex, Upo
- Alkuperäinen varaosa
- Räjäytyskuvassa num: 1376
English
















Arviot
Tuotearvioita ei vielä ole.